今年3月,小米SU7上市发布。发布会上,小米董事长雷军对小米SU7的半隐藏式门把手进行了大篇幅的介绍,车型上市后这一设计也获得了大量车主的认可。
然而,12月9日晚间,小米首款SUV——小米YU7登陆工信部,证件照显示该车似乎放弃了半隐藏式门把手,改用了真正的全隐藏式门把手。


目前,有大量网友对于小米弃用半隐藏式门把手感到不满,雷军本人的评论区里更是有不少人希望小米可以给出解释,甚至直接重新改回半隐藏式门把手,相关评论最高获得了接近4000点赞。

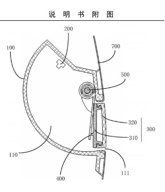
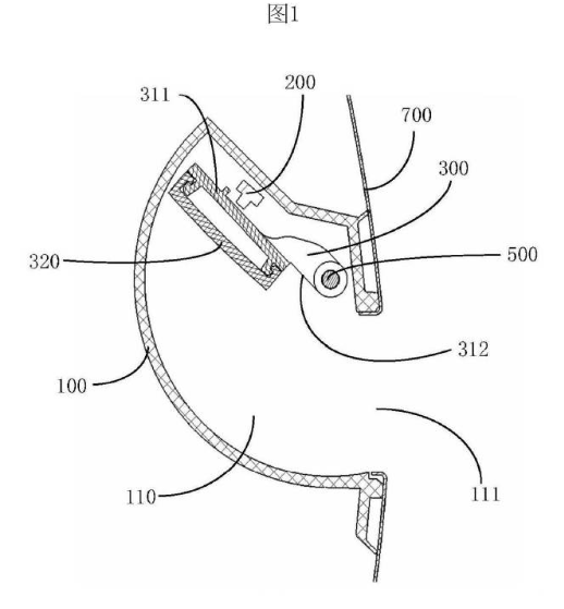
然而,虽然工信部照片显示小米YU7的门把手设计与小米SU7不同,但根据此前的一份申请专利,小米YU7的门把手或许并非大家认为的弹出式,其表面可能只是一个盖子,打开后用户可以伸手进去拉开车门,是小米SU7半隐藏式门把手的升级版。

不过截止发稿前,小米官方暂未公布YU7的门把手设计细节,以上只是根据专利推测。

工信部信息显示,小米YU7的长宽高分别为4999mm/1996mm/1600mm,轴距3000mm,搭载了前后双电机,电动机型号分别为YS210XY103/TZ220XY109,最高功率508千瓦,整车质量为2405kg。
